Цикл сверления с удалением стружки G83 <W5DChipRemoving>

Цикл сверления с удалением стружки типа <W5DChipRemoving(483)> (G83) предполагает подход инструмента к центру отверстия на расстоянии <Z отвода> и последующее циклическое сверление с периодическим выводом сверла на уровень <Z безопасная>.

images/download/attachments/147773804/W5DChipRemoving.png

Цикл включает в себя следующее:

  • Ускоренный подвод инструмента к центру отверстия на уровне <Z отвода>.

  • Опускание на ускоренной подаче до <Z безопасной>.

  • Рабочий ход на глубину равную параметру <Шаг (S)>.

  • Выстой инструмента продолжительностью <Выстой внизу>.

  • Ускоренный возврат инструмента до <Z безопасной>.

  • Выстой инструмента продолжительностью <Выстой наверху>.

  • Ускоренное перемещение до уровня, достигнутого на предыдущем рабочем ходе, с небольшим недоходом до него на величину <Недоход (Dcl)>.

  • Рабочий ход на расстояние <Недоход (Dcl)> плюс <Шаг (S)>.

  • Выстой инструмента продолжительностью <Выстой внизу>.

  • Повторение предыдущих пяти шагов до достижения полной глубины отверстия.

  • Ускоренный возврат инструмента до уровня <Z отвода>.

Параметры:


CLD массив

Описание

CLD[1]

CLD.SubCmd

Модификатор команды:

ON(71) – включение стандартного цикла,

CALL(52) – вызов стандартного цикла,

OFF(72) – отмена стандартного цикла.

CLD[2]

CLD.SubType

Идентификатор конкретного типа цикла: W5DChipRemoving(483)

CLD[3]

CLD.CLParams(1)

Nx, координата X вектора нормали инструмента

CLD[4]

CLD.CLParams(2)

Ny, координата Y вектора нормали инструмента

CLD[5]

CLD.CLParams(3)

Nz, координата Z вектора нормали инструмента

CLD[6]

CLD.CLParams(4)

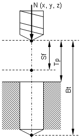
Sf, расстояние по нормали от текущего положения инструмента до уровня безопасной плоскости

CLD[7]

CLD.CLParams(5)

Tp, расстояние по нормали от текущего положения инструмента до верхнего уровня отверстия

CLD[8]

CLD.CLParams(6)

Bt, расстояние по нормали от текущего положения инструмента до нижнего уровня отверстия

CLD[9]

CLD.CLParams(7)

Единицы измерения рабочей подачи: 0 – мм/об

1 – мм/мин

CLD[10]

CLD.CLParams(8)

Величина рабочей подачи

CLD[11]

CLD.CLParams(9)

Единицы измерения подачи подвода: 0 – мм/об

1 – мм/мин

CLD[12]

CLD.CLParams(10)

Величина подачи подвода

CLD[13]

CLD.CLParams(11)

Единицы измерения подачи отвода: 0 – мм/об

1 – мм/мин

CLD[14]

CLD.CLParams(12)

Величина подачи отвода

CLD[15]

CLD.CLParams(13)

Величина задержки на нижнем уровне отверстия в секундах

CLD[16]

CLD.CLParams(14)

Величина задержки на верхнем уровне отверстия в секундах

CLD[17]

CLD.CLParams(15)

St, значение шага для удаления стружки

CLD[18]

CLD.CLParams(16)

Dg, величина уменьшения шага для удаления стружки на каждой итерации

CLD[19]

CLD.CLParams(17)

Dc, недоход до места начала резания на каждом шаге

CLD[50]

CLD.CLParams(48)

Какой шпиндель приводится в движение:

1 - приводной инструмент,

2 - шпиндель заготовки (токарный).


images/download/attachments/147773804/W5DSchema.png

Сопутствующие ссылки:

Описание технологических команд

Расширенный цикл <EXTCYCLE>