Цикл сверления G82 <W5DFace>

Цикл сверления типа <W5DFace(482)> (G82) производит сверление отверстия с подходом на <безопасное расстояние>, выдержкой паузы на дне при включенном шпинделе с последующим ускоренным выходом на <плоскость отвода>.

images/download/attachments/147773799/W5DFace.png

Цикл сверления типа G82 включает в себя следующие шаги:

  • Ускоренный подвод инструмента к центру отверстия на уровне <Z отвода>.

  • Опускание на ускоренном ходу до <Z безопасной>.

  • Рабочий ход инструмента на расстояние <Z мин>.

  • Выстой на дне отверстия.

  • Ускоренный возврат инструмента до уровня <Z отвода>.

Параметры:


CLD массив

Описание

CLD[1]

CLD.SubCmd

Модификатор команды:

ON(71) – включение стандартного цикла,

CALL(52) – вызов стандартного цикла,

OFF(72) – отмена стандартного цикла.

CLD[2]

CLD.SubType

Идентификатор конкретного типа цикла:

W5DFace(482)

CLD[3]

CLD.CLParams(1)

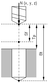
Nx, координата X вектора нормали инструмента

CLD[4]

CLD.CLParams(2)

Ny, координата Y вектора нормали инструмента

CLD[5]

CLD.CLParams(3)

Nz, координата Z вектора нормали инструмента

CLD[6]

CLD.CLParams(4)

Sf, Расстояние по нормали от текущего положения инструмента до уровня безопасной плоскости

CLD[7]

CLD.CLParams(5)

Tp, Расстояние по нормали от текущего положения инструмента до верхнего уровня отверстия

CLD[8]

CLD.CLParams(6)

Bt, Расстояние по нормали от текущего положения инструмента до нижнего уровня отверстия

CLD[9]

CLD.CLParams(7)

Единицы измерения рабочей подачи: 0 – мм/об

1 – мм/мин

CLD[10]

CLD.CLParams(8)

Величина рабочей подачи

CLD[11]

CLD.CLParams(9)

Единицы измерения подачи подвода: 0 – мм/об

1 – мм/мин

CLD[12]

CLD.CLParams(10)

Величина подачи подвода

CLD[13]

CLD.CLParams(11)

Единицы измерения подачи отвода: 0 – мм/об

1 – мм/мин

CLD[14]

CLD.CLParams(12)

Величина подачи отвода

CLD[15]

CLD.CLParams(13)

Величина задержки на нижнем уровне отверстия в секундах

CLD[50]

CLD.CLParams(48)

Какой шпиндель приводится в движение:

1 - приводной инструмент,

2 - шпиндель заготовки (токарный).


images/download/attachments/147773799/W5DSchema.png

Сопутствующие ссылки:

Описание технологических команд

Расширенный цикл <EXTCYCLE>