Цикл выборки отверстия <W5DHolePocketing>

Цикл выборки отверстия типа <W5DHolePocketing(491)> предназначен для обработки круглых отверстий, диаметр которых намного больше диаметра инструмента. Выборка материала из отверстий производится слоями. Инструмент врезается по спирали к каждому слою, а затем расширяет отверстие до требуемого диаметра движением по спирали Архимеда с чистовым проходом фрезы по окружности.

images/download/attachments/147773869/W5DHolePocketing.png


Выборка круглого колодца включает в себя следующие шаги:

  • Ускоренный подвод инструмента к центру отверстия на уровне <Z отвода>.

  • Опускание на ускоренном ходу до <Z безопасной>.

  • Врезание по спирали на <глубину резания Z>.

  • Движение по спирали Архимеда на этом уровне с <шагом S> до выхода оси вращения инструмента на окружность с диаметром равным разности между диаметром отверстия и диаметром инструмента.

  • Чистовой проход по окружности указанного диаметра без изменения уровня.

  • Повторение предыдущих 3-х шагов до достижения требуемой глубины отверстия, с переходом к точке начала следующего врезания без изменения уровня.

  • Отход к центру отверстия.

  • Подъем на ускоренной подаче до уровня <Z отвода>.

Направление закручивания спирали может принимать следующие значения:

  • <Правое>. Спираль закручена вправо. При взгляде сверху инструмент совершает вращения вокруг оси отверстия по часовой стрелке.

  • <Левое>. Спираль закручена влево. При взгляде сверху инструмент совершает вращения вокруг оси отверстия против часовой стрелки.

  • <Встречное>. Направление закручивания спирали зависит от направления вращения шпинделя инструмента и соответствует встречному типу фрезерования. При встречном типе фрезерования направление вращения инструмента и направление спирали противоположны друг другу.

  • <Попутное>. Направление закручивания спирали зависит от направления вращения шпинделя инструмента и соответствует попутному типу фрезерования. При попутном типе фрезерования направление вращения инструмента и направление спирали совпадают.

images/download/attachments/147773869/f_clip0054.bmp

Если величина чистового прохода не равна нулю, то перед выполнением окончательного прохода по окружности на каждом слое будет произведен дополнительный проход по окружности с данным припуском. Это позволяет обеспечить равномерность толщины снимаемого слоя материала на окончательном проходе.

Параметры:


CLD массив

Описание

CLD[1]

CLD.SubCmd

Модификатор команды:

ON(71) – включение стандартного цикла,

CALL(52) – вызов стандартного цикла,

OFF(72) – отмена стандартного цикла.

CLD[2]

CLD.SubType

Идентификатор конкретного типа цикла: W5DHolePocketing(491)

CLD[3]

CLD.CLParams(1)

Nx, координата X вектора нормали инструмента

CLD[4]

CLD.CLParams(2)

Ny, координата Y вектора нормали инструмента

CLD[5]

CLD.CLParams(3)

Nz, координата Z вектора нормали инструмента

CLD[6]

CLD.CLParams(4)

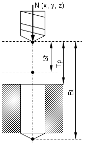
Sf, Расстояние по нормали от текущего положения инструмента до уровня безопасной плоскости

CLD[7]

CLD.CLParams(5)

Tp, Расстояние по нормали от текущего положения инструмента до верхнего уровня отверстия

CLD[8]

CLD.CLParams(6)

Bt, Расстояние по нормали от текущего положения инструмента до нижнего уровня отверстия

CLD[9]

CLD.CLParams(7)

Единицы измерения рабочей подачи: 0 – мм/об

1 – мм/мин

CLD[10]

CLD.CLParams(8)

Величина рабочей подачи

CLD[11]

CLD.CLParams(9)

Единицы измерения подачи подвода: 0 – мм/об

1 – мм/мин

CLD[12]

CLD.CLParams(10)

Величина подачи подвода

CLD[13]

CLD.CLParams(11)

Единицы измерения подачи отвода: 0 – мм/об

1 – мм/мин

CLD[14]

CLD.CLParams(12)

Величина подачи отвода

CLD[16]

CLD.CLParams(14)

Диаметр отверстия

CLD[17]

CLD.CLParams(15)

Шаг спирали

CLD[18]

CLD.CLParams(16)

Диаметр спирали (Ds)

CLD[19]

CLD.CLParams(17)

Направление спирали:

0 – встречное,

1 – попутное,

2 – правое,

3 – левое.

В случае 0 и 1 направление спирали зависит от направления вращения инструмента, а в случае 2 и 3 – не зависит.

CLD[20]

CLD.CLParams(18)

Глубина резания по нормали

CLD[21]

CLD.CLParams(19)

Количество резов по нормали

CLD[22]

CLD.CLParams(20)

Шаг спирали Архимеда (S)

CLD[23]

CLD.CLParams(21)

Величина чистового прохода


images/download/attachments/147773869/W5DSchema.png

Сопутствующие ссылки:

Описание технологических команд

Расширенный цикл <EXTCYCLE>