Цикл сверления типа G86 <W5DBore6>

Цикл сверления типа <W5DBore6(486)> (G86) предполагает подход инструмента к центру отверстия, расточку на рабочем ходу с остановкой шпинделя на минимальном уровне и выход на ускоренном ходу на <уровень отвода>.

images/download/attachments/147773824/W5DBore6.png

Цикл расточки типа G86 включает в себя следующие шаги:

  • Ускоренный подвод инструмента к центру отверстия на уровне <Z отвода>.

  • Опускание на ускоренном ходу до <Z безопасной>.

  • Рабочий ход инструмента на расстояние <Z мин>.

  • Останов шпинделя. Если включен ориентированный останов шпинделя (параметр CLD[17]), то производится позиционирование шпинделя в заданную угловую позицию и отвод на заданные небольшие величины по координатам X, Y и Z.

  • Возврат инструмента на ускоренном ходу до уровня <Z отвода>.

  • Восстановление первоначальных направления и частоты вращения шпинделя.

Параметры:


CLD массив

Описание

CLD[1]

CLD.SubCmd

Модификатор команды:

ON(71) – включение стандартного цикла,

CALL(52) – вызов стандартного цикла,

OFF(72) – отмена стандартного цикла.

CLD[2]

CLD.SubType

Идентификатор конкретного типа цикла: W5DBore6(486)

CLD[3]

CLD.CLParams(1)

Nx, координата X вектора нормали инструмента

CLD[4]

CLD.CLParams(2)

Ny, координата Y вектора нормали инструмента

CLD[5]

CLD.CLParams(3)

Nz, координата Z вектора нормали инструмента

CLD[6]

CLD.CLParams(4)

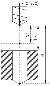
Sf, Расстояние по нормали от текущего положения инструмента до уровня безопасной плоскости

CLD[7]

CLD.CLParams(5)

Tp, Расстояние по нормали от текущего положения инструмента до верхнего уровня отверстия

CLD[8]

CLD.CLParams(6)

Bt, Расстояние по нормали от текущего положения инструмента до нижнего уровня отверстия

CLD[9]

CLD.CLParams(7)

Единицы измерения рабочей подачи: 0 – мм/об

1 – мм/мин

CLD[10]

CLD.CLParams(8)

Величина рабочей подачи

CLD[11]

CLD.CLParams(9)

Единицы измерения подачи подвода: 0 – мм/об

1 – мм/мин

CLD[12]

CLD.CLParams(10)

Величина подачи подвода

CLD[13]

CLD.CLParams(11)

Единицы измерения подачи отвода: 0 – мм/об

1 – мм/мин

CLD[14]

CLD.CLParams(12)

Величина подачи отвода

CLD[17]

CLD.CLParams(15)

Включен ли ориентированный останов шпинделя на дне отверстия: 0 - выключен, 1 - включен.

CLD[18]

CLD.CLParams(16)

Угловое положение шпинделя при ориентированном останове на дне отверстия (в градусах)

CLD[19]

CLD.CLParams(17)

Величина отвода инструмента по координате X после ориентированного останова шпинделя на дне отверстия

CLD[20]

CLD.CLParams(18)

Величина отвода инструмента по координате Y после ориентированного останова шпинделя на дне отверстия

CLD[21]

CLD.CLParams(19)

Величина отвода инструмента по координате Z после ориентированного останова шпинделя на дне отверстия

CLD[50]

CLD.CLParams(48)

Какой шпиндель приводится в движение:

1 - приводной инструмент,

2 - шпиндель заготовки (токарный).


images/download/attachments/147773824/W5DSchema.png

Сопутствующие ссылки:

Описание технологических команд

Расширенный цикл <EXTCYCLE>