Цикл нарезания резьбы метчиком G84 <W5DTap>

Цикл нарезания резьбы метчиком <W5DTap(484)> (G84) предполагает подход инструмента к центру отверстия на расстоянии <Z отвода>, нарезание резьбы с последующим подъемом на рабочем ходу при обратном вращении шпинделя.

images/download/attachments/147773814/W5DTap.png

Цикл нарезания резьбы типа G84 включает в себя следующее:

  • Ускоренный подход инструмента к центру отверстия на уровне <Z отвода>.

  • Ускоренное опускание до <Z безопасной>.

  • Рабочий ход инструмента на расстояние <Z мин>.

  • Реверс шпинделя и возврат на рабочем ходу до <Z безопасной>.

  • Ускоренный подъем до уровня <Z отвода>.

  • Восстановление первоначального направления и частоты вращения шпинделя.

Если включен соответствующий параметр, то в процессе выполнения цикла метчик отводится назад для ломки/удаления стружки. Способ ломки стружки определяется параметром CLD[20].

При нарезании резьб метчиком часто используют патроны специальной конструкции, которые повышают точность обрабатываемых отверстий – плавающие патроны. Их применяют, когда необходимо скомпенсировать несоосность обрабатываемого отверстия и инструмента. Стойки ЧПУ могут иметь разные циклы для нарезания резьб с использованием различных типов патронов. Поэтому выбор типа патрона вынесен в соответствующий параметр, который может принимать два значения: плавающий и фиксированный.

Параметры:


CLD массив

Описание

CLD[1]

CLD.SubCmd

Модификатор команды:

ON(71) – включение стандартного цикла,

CALL(52) – вызов стандартного цикла,

OFF(72) – отмена стандартного цикла.

CLD[2]

CLD.SubType

Идентификатор конкретного типа цикла: W5DTap(484)

CLD[3]

CLD.CLParams(1)

Nx, координата X вектора нормали инструмента

CLD[4]

CLD.CLParams(2)

Ny, координата Y вектора нормали инструмента

CLD[5]

CLD.CLParams(3)

Nz, координата Z вектора нормали инструмента

CLD[6]

CLD.CLParams(4)

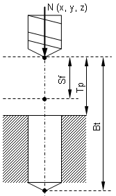
Sf, Расстояние по нормали от текущего положения инструмента до уровня безопасной плоскости

CLD[7]

CLD.CLParams(5)

Tp, Расстояние по нормали от текущего положения инструмента до верхнего уровня отверстия

CLD[8]

CLD.CLParams(6)

Bt, Расстояние по нормали от текущего положения инструмента до нижнего уровня отверстия

CLD[9]

CLD.CLParams(7)

Единицы измерения рабочей подачи: 0 – мм/об

1 –мм/мин

CLD[10]

CLD.CLParams(8)

Величина рабочей подачи

CLD[11]

CLD.CLParams(9)

Единицы измерения подачи подвода: 0 – мм/об

1 – мм/мин

CLD[12]

CLD.CLParams(10)

Величина подачи подвода

CLD[13]

CLD.CLParams(11)

Единицы измерения подачи отвода: 0 – мм/об

1 – мм/мин

CLD[14]

CLD.CLParams(12)

Величина подачи отвода

CLD[15]

CLD.CLParams(13)

Величина задержки на нижнем уровне отверстия в секундах

CLD[16]

CLD.CLParams(14)

Величина задержки на верхнем уровне отверстия в секундах

CLD[17]

CLD.CLParams(15)

Шаг резьбы

CLD[18]

CLD.CLParams(16)

Начальное угловое положение шпинделя в градусах (для многозаходных резьб)

CLD[19]

CLD.CLParams(17)

Тип патрона метчика:

0 – плавающий (компенсирующий),

1 – фиксированный (некомпенсирующий)

CLD[20]

CLD.CLParams(18)

Способ ломки стружки:

0 – цикл без ломки стружки

1 – цикл с удалением стружки

2 – цикл с ломкой стружки

CLD[21]

CLD.CLParams(19)

St, значение шага для ломки стружки

CLD[22]

CLD.CLParams(20)

Dg, величина уменьшения шага для ломки стружки на каждой итерации

CLD[23]

CLD.CLParams(21)

Dc, недоход до места начала резания на каждом шаге

CLD[24]

CLD.CLParams(22)

Ld, значение отхода на каждом шаге для прерывания процесса резания

CLD[50]

CLD.CLParams(48)

Какой шпиндель приводится в движение:

1 - приводной инструмент,

2 - шпиндель заготовки (токарный).


images/download/attachments/147773814/W5DSchema.png

Сопутствующие ссылки:

Описание технологических команд

Расширенный цикл <EXTCYCLE>